SWARM –Exposing the Swarm at the Edge of the Transhumanism Cloud
- A Call to Actions
- Oct 5, 2022
- 18 min read
Updated: Oct 15, 2022
Morgellons, Artificial Intelligence & The Transhumanism Agenda EXPOSED! | Kandy Vandawalker || 2022/09/23 We investigate the connections between the man-made illness, Morgellons, artificial life, and the global transhumanism agenda. Returning guest, Kandy Vandawalker, discusses details.
Link to video: https://www.youtube.com/watch?v=ZjoMHRorTI4
As you will see in the following paragraphs:
"The swarm gives the cloud eyes, ears, hands, and feet, enabling services that are directly embedded in the physical world rather than just in the cyber world. "
"making the platform open and universal will unleash millions of swarm devices and swarmlet developers, just as smart-phone platforms opened the door to millions of app developers."
What most cannot see here due to the compartmentalization, is that these very systems are and have been intending to move humanity into transhumanism. It is a slow process that takes much conditioning and desensitizing. The solution to this is to see it as it is and before it happens to you and to prevent it.
"Morpheus: The Matrix is a system, Neo. That system is our enemy. But when you're inside, you look around, what do you see? Businessmen, teachers, lawyers, carpenters. The very minds of the people we are trying to save. But until we do, these people are still a part of that system and that makes them our enemy. You have to understand, most of these people are not ready to be unplugged. And many of them are so inured, so hopelessly dependent on the system, that they will fight to protect it.
Morpheus: What is the Matrix? Control. The Matrix is a computer-generated dream world built to keep us under control in order to change a human being into this. [holds up a Duracell battery]"
THIS IS ALL ABOUT USING YOUR FREE WILL! If you think just breathing is using your free will, this equates to drifting.Keep in mind that this is a mind game.
Outwitting the Devil by Napoleon Hill
"The class of people who control their environmental influences are : "The non-drifters. All who are victims of the habit of drifting forfeit their power to choose their own environment. They become the victims of every negative influence of their environment."
(p. 223)"
From the following link
"The Swarm at the Edge of the Cloud Edward A. Lee, Jan Rabaey, David Blaauw, Kevin Fu, Carlos Guestrin, Bjorn Hartmann, Roozbeh Jafari, Doug Jones, John Kubiatowicz, Vijay Kumar, Rahul Mangharam,Richard Murray, George Pappas, Kris Pister, Anthony Rowe, Alberto Sangiovanni-Vincentelli, Sanjit A. Seshia, Tajana Simunic Rosing, Ben Taskar, John Wawrzynek, David Wessel
Citation
Edward A. Lee, Jan Rabaey, David Blaauw, Kevin Fu, Carlos Guestrin, Bjorn Hartmann, Roozbeh Jafari, Doug Jones, John Kubiatowicz, Vijay Kumar, Rahul Mangharam, Richard Murray, George Pappas, Kris Pister, Anthony Rowe, Alberto Sangiovanni-Vincentelli, Sanjit A. Seshia, Tajana Simunic Rosing, Ben Taskar, John Wawrzynek, David Wessel. "The Swarm at the Edge of the Cloud". Design & Test, IEEE, 31(3):1-13, June 2014.
Abstract
Today, large numbers of sensors and actuators embedded into innovative devices are being introduced into our connected world at an accelerating rate. This sensory swarm, or the swarm for short, presents an extension of the infosphere (today embodied in the cloud) into the physical world. The swarm gives the cloud eyes, ears, hands, and feet, enabling services that are directly embedded in the physical world rather than just in the cyber world. There is no question that the pervasive integration of smart, networked sensors and actuators into the physical world offers huge potential to address societal problems, to improve quality of life, and to smooth the boundaries between the human and the cyber worlds. But it comes with enormous challenges and risks | both technical and non-technical. To mitigate these concerns, this paper proposes the adoption of an open and universal platform to enable the simple, reliable, and secure deployment and operation of a multiplicity of distributed sense and control applications (which we call swarmlets). Providing access control and resource guarantees is essential to quality of experience and safety. Making the platform open and universal will unleash millions of swarm devices and swarmlet developers, just as smart-phone platforms opened the door to millions of app developers."
They intend to accomplish their man/machine integration agenda. As seen below, they are all seperate entities working toward the same goal. But when you separate and compartmenatlize the bigger picture is more difficult to see due to many departments not knowing what others are working toward, yet when you put them all together, you begin to get the grand scheme.

The latest from Google
Alphabet was created as a subsidiary directly owned by Google Inc. The roles of these two companies – one as the owner and the other as the subsidiary – was then reversed in a two-step switch. First, a dummy subsidiary of Alphabet was created. Then Google merged with that dummy subsidiary while converting Google stock to Alphabet stock. The post-merger subsidiary, no longer a dummy, changed its name to "Alphabet Inc." Under Delaware law, a holding company reorganization such as this can be done without a vote of shareholders, as this reorganization was.[20]
The restructuring process was completed on October 2, 2015.[8] Alphabet retains Google Inc.'s stock price history and continues to trade under Google Inc.'s former ticker symbols "GOOG" and "GOOGL;" both classes of stock are components of major stock market indices such as the S&P 500 and NASDAQ-100.
And while we are on the subject of Google, let's dig into Google's decision to invest approx $3.9 million in privately owned DNA analysis tech company 23andMe? Let's connect a few dots. The founder of 23andMe is the wife of Google's President of Technology. Prior to this investment, he provided approx $2.6 million in interim debt financing to 23andMe. This article was scrubbed from the internet but was recovered from an internet archive. Here is a link to the original article.
Not only are they working their agenda from many different government agencies worldwide, but they are also obligating our Universities to do their bidding.
Darpa also solicits assistance from SBIR Small Business Innovation Research to further its agenda with even more compartmentalization. Below is just a taste of their Obligations for Universities:

A List of their Active Programs

The goal is to build the communications systems to monitor and control through Wifi, Towers, Satellites, Radio Frequency, Microwave, etc.

"About AP-S
Our focus is defined in our Field of Interest statement:
The field of interest of the Society includes the following: antennas, including analysis, design, development, measurement, and testing; radiation, propagation, and the interaction of electromagnetic waves with discrete and continuous media; and applications and systems pertinent to antennas, propagation, and sensing, such as applied optics, millimeter- and sub-millimeter-wave techniques, antenna signal processing and control, radio astronomy, and propagation and radiation aspects of terrestrial and space-based communication, including wireless, mobile, satellite, and telecommunications."

Darpa shares it's "Bio-Revolution" where man/machine interface and "Bio-Detection" are networked.

The coverage is set out to be continuous.


"Operation Neuroscience" shares insight into networking via Neuro interface, via the human brain.
http://www.fda.gov/downloads/MedicalDevices/NewsEvents//UCM424736.pdf


Darpa shares the “Complete Neurophotonic interface”, integrating fiber optics into the human body.

Complex Systems set out to interface at the neural level to monitor and control the human brain via complex networks.

"The brain is a large network of interconnected neurons where each cell functions as a nonlinear processing element. Unraveling the mysteries of information processing in the complex networks of the brain requires versatile neurostimulation and imaging techniques. Optogenetics is a new stimulation method which allows the activity of neurons to be modulated by light. For this purpose, the cell-types of interest are genetically targeted to produce light-sensitive proteins. Once these proteins are expressed, neural activity can be controlled by exposing the cells to light of appropriate wavelengths. Optogenetics provides a unique combination of features, including multimodal control over neural function and genetic targeting of specific cell-types. Together, these versatile features combine to a powerful experimental approach, suitable for the study of the circuitry of psychiatric and neurological disorders. The advent of optogenetics was followed by extensive research aimed to produce new lines of light-sensitive proteins and to develop new technologies: for example, to control the distribution of light inside the brain tissue or to combine optogenetics with other modalities including electrophysiology, electrocorticography, nonlinear microscopy, and functional magnetic resonance imaging. In this paper, the authors review some of the recent advances in the field of optogenetics and related technologies and provide their vision for the future of the field."
Notice below how they want to play God by creating unnatural "synthetic", "new building blocks". This is Satan's attempt to hijack and tranform God's creation yet they know not who they serve due to the compartmentalization and cool factor they spin with modern tech.
From Project Genesis Synthetic Biology - Life from the Lab. Again you see reverse engineering (Human Genome Project) dna in the attempt to re-write God's creation with artificial, synthetic technologies.
To keep it simple, the brain is like a computer processor. The technologies are focused on reading, stimulating and controlling the human via the brain processing unit. The key here is, we are not our brain. Our Central Operating System that connects to our Soul is via the Heart. The Heart connection is where the innate tools of intuition, discernment and resonance lead us to truth. This is under attack because those who choose to control have diverted otherwise life enhancing technologies toward a very dark agenda steered toward transhumanism (aka, Soul Stealing).

Excellent video giving insight into Satan's attempted hijacking and mockery of God's Creation!
Notice how they are attempting to modify our DNA via food that they fight tooth and nail to hide by not labeling the contaminants!
Synthetic DNA to control the assembly of nano-particles that are switchable, three dimensional and can be used for bio-sensors, link up to nano-particles creating "smart glue" that serves the overall smart platform or swarm that feeds the AI cloud monitoring system. This is a full service profiling continuous feedback system for mind control manipulation.
Notice the continued reference to swarm and the goal to use robotics to duplicate natural self-organizing systems.


Swarmanoid=swarm & humanoid

Professor Edward A. Lee (see above Swarm document at the beginning of this article) from Berkeley spells out this agenda in 1997 "Modeling in an Artificial Universe" via "Towers of Abstraction" aka cell, microwave, radio frequency towers.

Why would Professor Edward A. Lee of Berkeley "begin 666 Complex Systems Prop 1" need to invoke the number of the beast before setting "Complex Systems" into motion, followed by a very lengthy encryption?

And referencing Satan?

Why does this NASA document reference Satan as well?
Quote from document:
"As NASA's satellites became more sophisticated, data' acquisition rather than tracking became the more critical of the network's tasks, and the equipment added to the stations reflected the change. Satellite Automatic Tracking Antennas (SATAN) - one type for telemetry reception, a second for command - replaced the Yagi arrays to serve either as a complement to the large dish antennas or as the prime receiver-command antenna at stations where there were no large dishes. Since the original Minitrack system could not track spacecraft sent into highly eccentric or synchronous orbits, specialists at the Goddard Space Flight Center, which had been assigned the satellite tracking and data acquisition task, devised an alternate tracking device called Goddard Range and Range Rate Equipment (GRARR). The GRARR sent a signal to the spacecraft, which replied through a transponder. By recording the time of signal transit to and from the satellite, distance could be determined, while doppler measurement could provide range rate. By 1964, NASA officials were using the name Space Tracking and Data Acquisition Network (STADAN) for this expanded, updated satellite network.3"
Why the constant need to refer to Satan, 666 and incantions?
Darpa, previously Arpa (Advanced Research Projects Agency) was researching Cybernetics, "Close-Coupled Man/Machine (Biocybernetics)" in 1974. Arpa was also researching an "Interglactic Computer Network" in 1963.

Cyber-Bio Interface Goals
We have numerous military documents spelling out the timeline agenda as the technology comes available to support its next steps.

Regina Dugan, former Director of DARPA now a Senior Executive at Google shows off her Super Power bar code chip technology, then at 4 minutes in we see the transhumanism agenda "focus on the techologies of the future; nano, bio , information, cognitive, genetics and robotics to find new sources of energy, create new architecture & transportation, unprecedented human cognitive abilities, refine artificial intelligences and brain/computer interfaces, simulation of complex systems, create humanoid robots and cyborgs, and with the help of nano-robots we may develop manageable matter, find ways to transfer someone's personality to an artificial carrier. We need a new civilization or paradigm. We need new philosophy and ideology, ethics, culture and new psychology and even new metaphysics.....a new man could arise....could it happen spontaneously?
Speaking of "Super Powers" In the below quoted article from National Geographic "How Artificial Intelligence Will Revolutionize Our Lives" we see how the man/machine interface is already at hand and where they intend to take this in the near future.
"Let me give you a short-term example and a longer one. Your smart phone is full of sensors, and there are going to be more. You might even have sensors in your body one of these days. If your smart phone feels that you are about to have a heart attack, it will call 911 and also warn you, so it might save your life. I think this will happen in the fairly short term.
In the longer term, picture an outbreak of a new disease, like the next Ebola. In the future, the virus will get sequenced very quickly, and then labs will find the vaccine or cure and your immune system will download the instructions for the cure from the Internet into your body, without you even necessarily being consciously aware of it.
More generally, I think machine learning, like other technologies, gives you a kind of superpower. Telephones let you communicate at a distance; airplanes let you fly. Machine learning will be the ultimate superpower."
In the above you see reference to using tech to detect and possibly assist in medical emergency yet this is the bait to get people to sign up for Remote Accessibility to their Cloud Systems without realizing what all this entails. See below article Remote Neural Monitoring: How They Spy on Your Thoughts
"The entire system has been developed after about 50 years (!) of neuro-electromagnetic human experimentations, claimed to be involuntary, but there is no evidence to support this claim. According to many scientists involved in this program (their names are not revealed for obvious reasons), within a few years it is expected that DNA microchips, under the guise of medical breakthroughs that will be presented to launch the disease cure processes on speed and efficiency, will be implanted in the humanoid cereberum, which would make it inherently controllable. R.N.M. will then have the ability to read and govern a person’s emotional mental procedures along with the involuntary and visions."
I almost fell for this technology but knowing what we know is the bigger picture, I did not pursue providing my personal medical timeline into the Cloud. I however applaud Functional Medicine but do not want the Cloud feeding AI.
The 2045 Transhumanism Agenda that we are dismantling as we expose its soul stealing intent.

More detailed look:




Another Transhumanism group joins the agenda!
A major hurdle in brain-machine interfaces (BMI) is the lack of an implantable neural interface system that remains viable for a lifetime. This paper explores the fundamental system design trade-offs and ultimate size, power, and bandwidth scaling limits of neural recording systems built from low-power CMOS circuitry coupled with ultrasonic power delivery and backscatter communication. In particular, we propose an ultra-miniature as well as extremely compliant system that enables massive scaling in the number of neural recordings from the brain while providing a path towards truly chronic BMI. These goals are achieved via two fundamental technology innovations: 1) thousands of 10 - 100 \mu m scale, free-floating, independent sensor nodes, or neural dust, that detect and report local extracellular electrophysiological data, and 2) a sub-cranial interrogator that establishes power and communication links with the neural dust."
Click on the picture below to go directly to the article.
In 1995 British Telecom announces a memory chip to download one's consciousness and store in digital form. Where does one's Soul connection go when the memories are downloaded to a chip?

"As long ago as 1995 British Telecom announced it was developing a memory chip designed to capture a person’s entire lifetime’s experiences. Implanted behind the eye, BT said, the chip would record the person’s thoughts, feelings and memories and store them in digital form.
BT confirmed the chip would be ready for use by the year 2025, hence the name: Soul Catcher 2025.
According to the literature available at the time, the Soul Catcher 2025 chip was being designed to attach directly to the optical nerve, where it would store incoming sensory impulses that could then be downloaded and played back on a computer.
Alternatively, the impulses could be implanted in someone else’s brain.
Peter Cochrane, Head of BT’s Advanced Applications and Technologies back in the 90s, announced through the press that an entire lifetime’s experiences could be captured and stored in about 10 terabytes of memory. The research program was being funded to the tune of £25 million, he confirmed.
And Dr Chris Winter of BT’s Artificial Life Team proudly asserted: “This is the end of death. By combining this information with a record of a person’s genes, we could recreate a person physically, emotionally and spiritually.”
Other reports at the time, most notably in the Telegraph and the Mail, expressed concerns that the Soul Catcher 2025 chip could even be used to record the lifetime experiences of a dying person and implant them in a newborn baby, so that the baby would start life where the dead person left off, so to speak.
When questioned about the ethics involved, Dr Winter replied that BT needed to remain at the cutting edge of telecommunications technologies, and that therefore the program was justified.
Other implications of the Soul Catcher 2025 implant include its use as a permanent bio-digital ID chip – which, somewhat ironically, brings us full circle.
Imagine if the government decided to implant prisoners with Soul Catchers instead of RFIDs.
And worse still, that on the prisoners’ deaths, the Soul Catchers were removed and implanted in newborn babies, as per British Telecom’s frightening ambitions to deploy their immortality chip by the year 2025.
How many generations before every newborn would be controlled – not only by the ‘stimoceiver’ chip implanted behind their eye, but by those specific impulses captured from the dead person’s brain which Big Brother has already decided the newborn should receive?
The following from David Bryson's interview with the Luciferian head consciousness orchestrating the NWO makes it pretty clear what the Transhumanism agenda is toward humanity. By exposing it, we dismantle it!
"Yes we are the 666... understood as the human races biggest fears because we are moving the world into trans-human. The New Era is the mark in systems." “I am the Luciferian head consciousness orchestrating the NWO” "NO HUMAN WILL BE ALLOWED TO WALK THIS EARTH, FROM NOW TO 2040 THERE IS DRASTIC CHANGES MANY PEOPLE ARE GOING TO DIE, ACCIDENTS WILL BE SPED UP, NATURAL DISASTERS WILL BE ORCHESTRATED TO KILL MANY, MEDICATION FOR ILLNESS WILL BE THE POISON TO EVERY HUMAN, EVERYTHING WILL BE SETUP TO KILL HUMANS > GENOCIDE WILL BE ORCHESTRATED FOR RAPID DEATHS! THE SIFTING GENOCIDE!
THOSE THAT SURVIVE WILL BE PLACED IN OUR SYSTEMS!"
KEEP IN MIND: This individual is a MAIN PLAYER at the online Transhumanism Hub, The 2045 Initiative (http://2045.com/) and told me that she has regular meetings with the Russian Founder of the 2045 Initiative, Dmitry Itskov."
This technology is first being being tested on our animals, then our soldiers and finally the ultimate target, the mass human population to control, manipulate and depopulate our planet.
Here are a few examples of how they utilize the typical 'sexy and cool technique' to attempt to get you to not only accept, integrate & become addicted to this technology....., but to pay good money to hand over very personal vitals to the cloud.....or
"The swarm gives the cloud eyes, ears, hands, and feet, enabling services that are directly embedded in the physical world rather than just in the cyber world. "

Does this look familiar?
1 trillion sensor network??? Taste/Smell/Touch/Sound/Sight?
Morphogenetic Engineering "by tinkering with the genotype, new architectures (phenotypes) can be obtained"

GARDENING CYBER-PHYSICAL SYSTEMS
"The overall objective of computational growth is to be able to \grow" macro-scopic objects that comprise both physical and computational aspects (cyber-physical systems, \smart" materials, etc). The related eld of physical self-assembly focuses on the material side: designing nano- and micro-scale assem-blers, or micro-scale articial cells, that can manipulate and position matter."

Watch as people are slowly being conditioned to integrate this technology INTO themselves. They start off slow with wearables; then, as society becomes desensitized to that, they take the next step: Integrating it as a wearable electronic sticker; then as society is conditioned to that they will take the next step: DOWNLOADABLE APPLICATIONS FOR YOUR BODY. "For your pain relief, just go to the app store and download the new app INTO YOUR BODY!" STEP 1:



Transhumanism agenda slowly attempting to integrate
man and machine by creating addiction to technology.
And as quoted from the above article "In the longer term, picture an outbreak of a new disease, like the next Ebola. In the future, the virus will get sequenced very quickly, and then labs will find the vaccine or cure and your immune system will download the instructions for the cure from the Internet into your body, without you even necessarily being consciously aware of it."
Allowing Artificial Intelligence to auto choose for you is extreemely dangerous.
Now these are available: (See how it is getting closer and closer to becoming invasive on a social level) STEP 2:
Facebook debuts its Artificial Intelligence (AI) research facility in Paris, France June 4th 2015
The new Facebook AI Research (FAIR) team will also work with existing teams in New York and California.
France is one of the leading countries in mathematics, physics and robotics research, which is one of the main reasons for the creation of the new FAIR team.
LeCun is one of the leading researchers at the heart of an AI movement known as deep learning. Since the 1980s, he and a small group of other researchers have worked to build networks of computer hardware that approximate the networks of neurons in the brain. In recent years, the likes of Facebook, Google, and Microsoft have embraced these “neural nets” as a way of handling everything from voice and image recognition to language translation.
Another researcher who bootstrapped this movement, University of Toronto professor Geoff Hinton, is now at Google. Like Facebook, Google is investing heavily in this rapidly evolving technology, and the two companies are competing for a rather small talent pool. After acquiring a deep learning startup called DeepMind, based in the UK and founded by an English researcher named Demis Hassabis, Google already operates a European AI lab of sorts.
Today, Facebook uses deep learning as a way of recognizing images on its social network, and it’s exploring the technology as a means of personalizing your Facebook News Feed so that you’re more likely to enjoy what you see. The next big step, LeCun says, is natural language processing, which aims to give machines the power to understand not just individual words but entire sentences and paragraphs.
“France already has one of the strongest AI research communities in the world, so we think this is the ideal home for our new team,” Zuckerberg wrote. “I’m excited for us to be taking another step toward the future of computing and connecting the world.”
Facebook’s Paris-based AI lab will double in staff by the end of the year, and each FAIR team will eventually consist of 40 to 50 people.
Elan Musk attempting to advance artificial intelligence via "neural lace" and the human brain.
Notice the "by 2020 there will be thousands of smart sensing devices per person" and that they will be "embedded in the environment around and on or in our bodies."
From the article: Remote Neural Monitoring: How They Spy on Your Thoughts
"The EMF emissions can be decoded into current thoughts and audiovisual perception, in the subject’s gumption. It sends complicated cyphers and electromagnetic pulse signals to activate evoked potentials inside the mind, consequently generating sound and visual input in the neural circuits. With its speech, auditory and visual communication arrays, R.N.M. allows for a comprehensive audio-visual mind-to-mind connection or a mind-to-computer association."
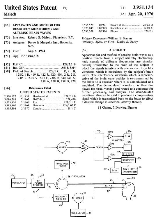
Apparatus and Method for Remotely Monitoring and Altering Brain Waves
How artificial intelligence profiles you through computer interface "web".
The constant conditioning even through our work software programming to "get smarter and more predictive."

We have to read between the lines here. In the name of convenience, allowing AI to profile the individual via vasts amounts of data collected and shared via the Cloud, it also has the ability to predict behaviors and potentially act on your behalf!


Teaching machines morals so they can make life and death decisions autonomously!
And now we have Kernel proclaiming HOW Human Intelligence (HI) WILL be hacked by AI!
Intelligence surpasses the Soul?

Reengineer the brain? Miniaturized electronics brain-implant?
Rewrite and redesign the architecture of the brain?
May allow us to delete or alter memories and store in the Cloud??
Google the entire record of our lives?
What "we" and our "computers" do may be indistinguishable???
Synthetic telepathy?
Google + Levi's = Smart Clothing
"Jacquard components are cost-efficient to produce, and the yarns and fabrics can be manufactured with standard equipment used in mills around the world.
One loom can generate as many different textile designs as there are people on the planet. Now that same loom can also weave in interactivity."
Embedding electronics
"The complementary components are engineered to be as discreet as possible. We developed innovative techniques to attach the conductive yarns to connectors and tiny circuits, no larger than the button on a jacket. These miniaturized electronics capture touch interactions, and various gestures can be inferred using machine-learning algorithms.
Captured touch and gesture data is wirelessly transmitted to mobile phones or other devices to control a wide range of functions, connecting the user to online services, apps, or phone features.
LEDs, haptics, and other embedded outputs provide feedback to the user, seamlessly connecting them to the digital world."
AI is God of the Synthetic artificial world

We now have the skynet tech as seen in the terminator movies series...as shared on DARPA'S website SYSTEM F6
"System F6 seeks to demonstrate the feasibility and benefits of a satellite architecture wherein the functionality of a traditional “monolithic” spacecraft is delivered by a cluster of wirelessly-interconnected modules capable of sharing their resources and utilizing resources found elsewhere in the cluster. Such architecture enhances the adaptability and survivability of space systems, while shortening development timelines and reducing the barrier-to-entry for participation in the national security space industry."
The below prophetic biblical verse pertains to these times. The "sea of glass mingled with fire" is the fiber optics system. We are those that have gotten the victory over the beast image (inter net/ complex systems), his mark (rfid), number (666), name (Lucifer), and stand on the sea of glass systems as we dismantle the depopulation, sterilization, mind control, and transhumanism agendas.
Revelation 15:2 King James Version (KJV)
"2 And I saw as it were a sea of glass mingled with fire: and them that had gotten the victory over the beast, and over his image, and over his mark, and over the number of his name, stand on the sea of glass, having the harps of God."
Once we acknowledge what is not in the best interest of our children, we can BE part of the solution to assure these agendas are dismantled and offer our children a safe, healthy, happy and empowered future.
![A Call to Actions-HD3 copy[Anti-Nazi].jpg](https://static.wixstatic.com/media/905ae8_b9f781c922fe4f50bf3f4258513b0112~mv2.jpg/v1/fill/w_296,h_296,al_c,q_80,usm_0.66_1.00_0.01,enc_avif,quality_auto/A%20Call%20to%20Actions-HD3%20copy%5BAnti-Nazi%5D.jpg)




















































































Loovely post